产品信息 product information
产品目录
当前位置:首页 > 产品展示 > 预制泵站 > 正文
FPS Basis(模块预制泵站单泵系统)
泽德预制泵站FPS Basis(单泵系统污水提升站)+预制泵站+泽德模块预制泵站 污水提升泵站 污水提升器 污水提升泵 污水提升装置

产品用途:
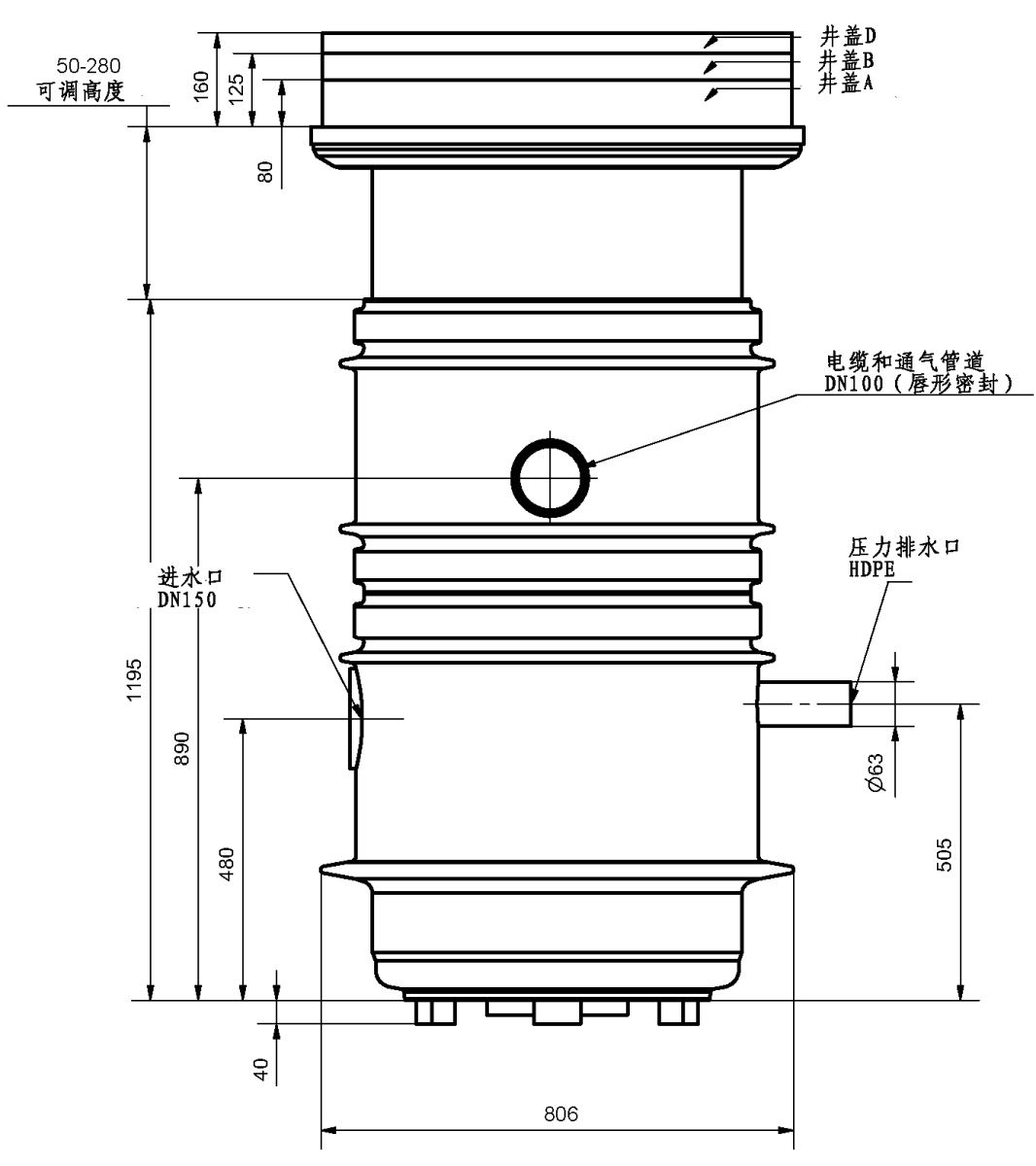
泽德FPS Basis预制泵站(单泵系统污水提升站)主要用于单户家庭产生的废水、小型污水泵站、雨水泵站 ,用于压力排水 ,安装建筑物外;

产品特点:
单泵系统污水提升站筒体采用耐腐蚀的HDPE一次性铸造成型,具有不渗漏和寿命特点,节能环保,施工简单;

推荐产品:

单泵系统的FPS Basis系列预制泵站:

•耐腐蚀HDPE预制筒体
•内部管道采用DN32不锈钢,泵和耦合系统安装就位,可以采用泵有:ZFS 70.1 – ZFS 70.5、ZPG 70.1 – ZPG 70.4 和 ZPG 50 三个系列的泵
•止回阀,闸阀和反冲洗冲洗连接用1  1/4”管
•压力出水口采用高密度聚乙烯63 X 5.8 的管引向箱体外
•1个DN150的进水口,适用于PVC管,另外可以在配件选择额外的连接配件
•2×DN100的电缆入口和通风口

应用领域::
•单户家庭产生的废水
•污水泵站、雨水泵站
•用于压力排水
•安装建筑物外
•同时在交通繁忙的地区井盖B类和D类

井盖

总高(mm)

箱体内最大进深(mm)

A

1365 – 1595

1190

B

1410 – 1640

1235

C

1445 – 1675

1270

详见具体型号的泵的性能曲线图

全国客服热线:400-028-6266

E-mail:zehnder@zehnder-pump.com

官网网址:http://www.dopekeys.com

移动端:http://m.zehnder-pump.com/

关注泽德微信
关注泽德微博

Copyright © 2014 四川仁邦环保科技有限公司   污水提升器 污水提升泵 污水提升装置 www.dopekeys.com all rights reserved.

蜀ICP备13007897号-6